Come collegare e montare correttamente le antenne dell'amplificatore di segnale
Il corretto collegamento dell'antenna è fondamentale per le prestazioni ottimali del vostro amplificatore di segnale. Un'installazione errata può comportare una scarsa ricezione del segnale, auto-oscillazione o una copertura ridotta. Seguite questa guida per collegare e montare correttamente le antenne esterne e interne del vostro sistema.
Cosa include un kit standard?
Un kit standard di amplificatori del segnale include i seguenti componenti:
Antenna esterna – può essere:
- Antenna Direzionale Log-Periodica (LPDA) o Antenna a pannello per amplificatori di segnale domestici.
- Antenna Omnidirezionale Magnetica per amplificatori veicolari e
- Antenna Omnidirezionale per Imbarcazioni per amplificatori marini.
Cavo esterno – collega l'antenna esterna all'amplificatore.
Le lunghezze standard vanno da 10 a 20 metri, ma è possibile adattarle a seconda delle necessità.
Unità di amplificazione del segnale – il dispositivo centrale che amplifica il segnale.
Cavo interno – collega l'antenna interna all'amplificatore. La lunghezza standard è di 5 metri, ma può essere accorciata o allungata se necessario. Alcuni modelli base per piccole aree di copertura potrebbero non richiedere un cavo interno.
Antenna interna – può essere:
- Antenna da soffitto o antenna a pannello (collegamento via cavo).
- Antenna a frusta (avvitata direttamente all'amplificatore senza cavo).
Informazioni sulle porte d'antenna del booster
Diversi modelli di amplificatori hanno indicazioni diverse per le porte. Ecco cosa significano:
- BS o Outdoor – si collega all' antenna esterna.
- MS / Indoor – si collega all' antenna/e interna/e.
- DC – per il collegamento all'alimentazione.
Alcuni modelli hanno due porte interne, consentendo l'uso simultaneo di 2 antenne interne. In questo caso:
- MS1 (porta più potente) – Ideale per antenne a soffitto e pannello con cavi più lunghi.
- MS2 – Adatto per un'antenna a frusta o una seconda antenna a pannello/soffitto con un cavo più corto.
* Nota: Se la vostra area di copertura è piccola e la distanza tra 2 antenne interne è inferiore a 5 metri, utilizzate solo un'antenna interna per evitare interferenze di segnale.
Schemi d'installazione
Kit ripetitore con un'antenna interna:
Kit ripetitore con due antenne interne:
Installazione in un furgone o in un'auto
* Questi schemi mostrano una possibile configurazione in un furgone o in un'automobile. Il posizionamento delle antenne esterne e interne può variare in base alle proprie esigenze e alle caratteristiche del veicolo. Per evitare oscillazioni del segnale, assicurarsi che le due antenne siano distanti almeno 3 metri.
Installazione su nave/imbarcazione
* Le antenne esterna e interna possono essere installate in varie posizioni, a seconda delle vostre esigenze e delle caratteristiche della vostra imbarcazione.
Attenzione! Per evitare oscillazioni del segnale, è importante che le due antenne abbiano una distanza di almeno 8 metri.
Verificare il corretto isolamento dell'antenna prima dell'accensione
Prima di accendere il ripetitore, verificate il corretto posizionamento delle antenne per prevenire problemi di auto-oscillazione (cicli di feedback) e interferenze:
Mantenete una distanza minima tra le antenne:
- Antenna esterna vs interna: almeno 8 metri in orizzontale e 1,5 metri in verticale. Se il segnale esterno è forte, si consiglia di aumentare questa distanza. Un segnale di ingresso più forte richiede una maggiore separazione per prestazioni ottimali.
- Antenna interna vs interna: almeno 3-5 metri di distanza per evitare interferenze di segnale. Se la vostra area di copertura è piccola e la distanza tra 2 antenne interne è inferiore a 5 metri, utilizzate solo un'antenna interna per evitare interferenze di segnale.
Posizionate correttamente le antenne:
- La posizione ottimale è sul tetto, con una visuale libera verso la torre cellulare più vicina.

- Evitate categoricamente di posizionare le antenne esterna e interna una di fronte all'altra.
- Utilizzate ostacoli quali pareti, soffitti o barriere metalliche per interrompere i percorsi diretti del segnale.
- Orientate le antenne in direzioni opposte o significativamente diverse.
* Per istruzioni dettagliate su come orientare e posizionare correttamente l'antenna esterna, consultare la nostra Guida al posizionamento dell'antenna.
Come montare le antenne
Montaggio dell'antenna esterna
Antenna LPDA:
Deve essere installata su un palo.
Assicurarsi che l'antenna sia montata verticalmente e che la freccia rossa sull'involucro dell'antenna sia rivolta verso l'alto.
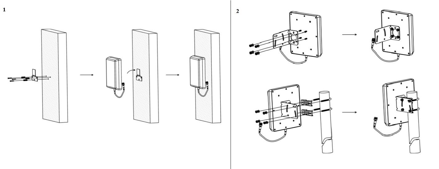
Antenna a pannello:
- Può essere montata a parete o su palo.
- Posizionarla il più in alto possibile per la migliore ricezione del segnale.
Prestate attenzione alla posizione verticale dell'antenna a pannello. Il cavo deve essere rivolto verso il basso.
Montaggio dell'antenna interna
Antenna a soffitto:
- Ideale per ampi spazi aperti, case o uffici.
- Collocatela al centro dell'area per una distribuzione uniforme del segnale.
Antenna a pannello:
- Ideale per spazi lunghi e stretti (corridoi, passaggi, ecc.).
- Si monta a parete, come un'antenna a pannello esterna.
- Orientatela verso l'area in cui è necessario migliorare il segnale.

Suggerimenti per una migliore prestazione
- Evitare di piegare o stringere eccessivamente i cavi per garantire una trasmissione ottimale del segnale.

- Se rimane del cavo in eccesso, arrotolarlo con cura o accorciarlo.
- Per una maggiore protezione, isolare i connettori esterni dall'umidità utilizzando un nastro isolante standard.

- Controllare l'integrità dei connettori durante l'assemblaggio del sistema per evitare problemi di connessione.
- In caso di interferenze, regolare leggermente le posizioni delle antenne per trovare la configurazione migliore.














